芯片丝印反查
丝印查询型号
型号查询丝印
| 型号 | 丝印代码 | 厂家 | 封装 | 引脚数 | 描述 | 数据手册 |
|---|---|---|---|---|---|---|
X4043M8IZ-2.7
|
DAS | MSOP-8 |
|
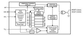
CPU Supervisor with 4kbit EEPROM
|
||
BCW67A
|
DAS | INFINEON | SOT23 |
3
|
Single Transistors Ic?≤ 500 mA
|
|
| bq24308DSGR | DAS | TI | DSG-8 |
8
|
Overvoltage and Overcurrent Protection IC
|
|
| BQ24308DSGT | DAS | TI | 8 |
|
Overvoltage and Overcurrent Protection IC
|
|
| 2SD1618 | DAS | SANYO | PCP |
3
|
NPN Epitaxial Planar Silicon Transistor
|
|
| 2SD1618-S | DAS | San | PCP |
3
|
Lo-sat, 20V, 700mA, 500mW, B=140..280, 250MHz
|
|
| XC6117A024MR | DAS | Tor | SOT-25 |
5
|
2.4V±2%, -MR, +Rst PPO, -Rst ODO, Rt=3.13ms
|